emilspec
An Integrated Publishing, Inc. Site
eMilSpec
An Integrated Publishing Website
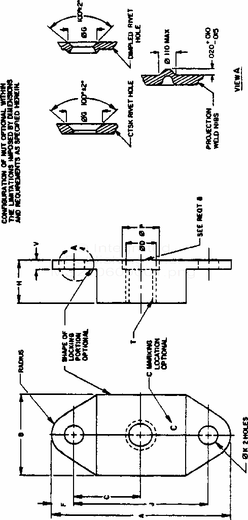
MS21060 Nut, Self-Locking, Plate, Two Lug, Floating, Low Height, Cres, 125 Ksi Ftu, 450 Deg. And 800 Deg. F. (Asg) (S/S By Nasm21060)
For Parts Inquires call
Parts Hangar, Inc
(727) 493-0744
© Copyright 2015 Integrated Publishing, Inc.
A Service Disabled Veteran Owned Small Business