emilspec
An Integrated Publishing, Inc. Site
eMilSpec
An Integrated Publishing Website
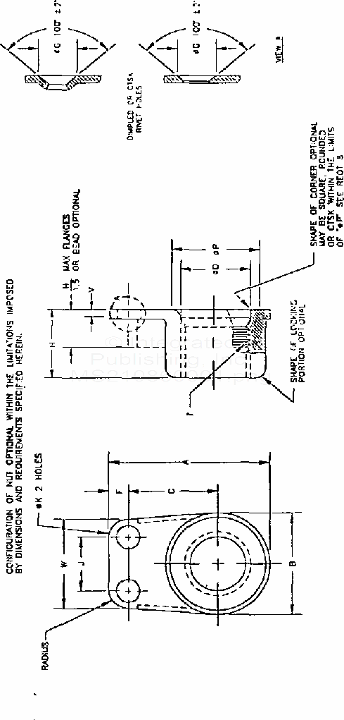
MS21086 Nut, Self-Locking, Plate, Side By Side, Reduced Rivet Spacing, Low Height, Steel, 125 Ksi Ftu, 450 Deg. F (S/S By Nasm21086)
For Parts Inquires call
Parts Hangar, Inc
(727) 493-0744
© Copyright 2015 Integrated Publishing, Inc.
A Service Disabled Veteran Owned Small Business